USP Icon
Gemakkelijk retourneren
USP Icon
Klanten beoordelen Zandri met een 9
USP Icon
Meer dan 100.000 parts in het assortiment

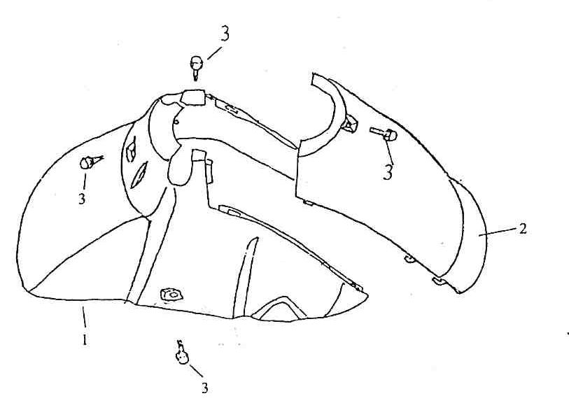
Voorspatbord Znen Grand Retro oranje

Voorspatbord Znen Grand Retro oranje
loader
Bezig met laden...

Onderdelen Znen Aurora IV oranje