USP Icon
Gemakkelijk retourneren
USP Icon
Klanten beoordelen Zandri met een 9
USP Icon
Meer dan 100.000 parts in het assortiment

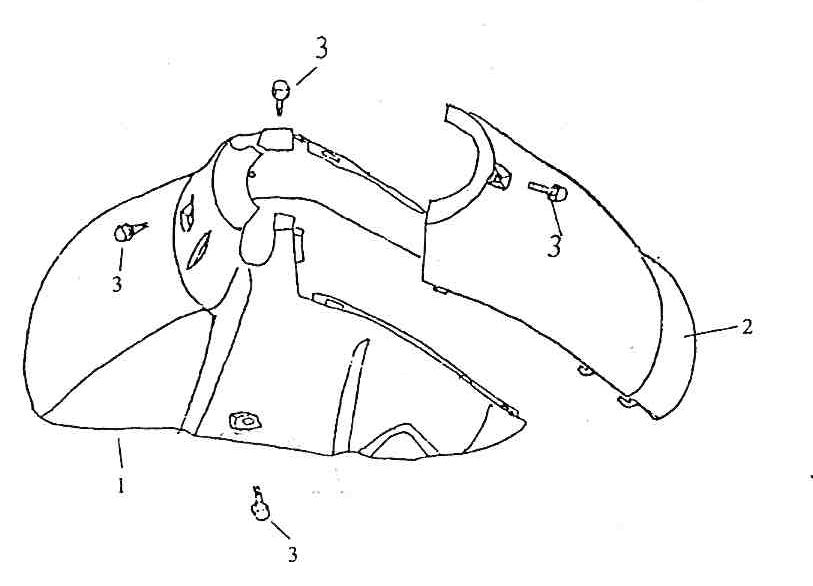
Voorspatbord Znen Grand Retro zwart creme

Voorspatbord Znen Grand Retro zwart creme
loader
Bezig met laden...

Onderdelen Znen Aurora IV zwart creme