USP Icon
Gemakkelijk retourneren
USP Icon
Klanten beoordelen Zandri met een 9
USP Icon
Meer dan 100.000 parts in het assortiment

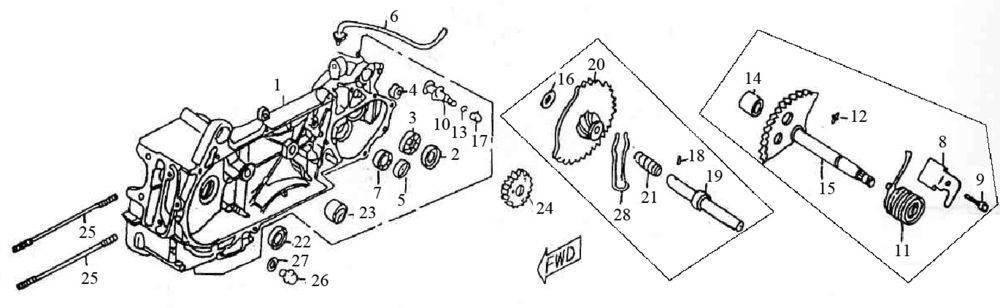
Carter - Kickstarteras Lintex Retro 125

Carter - Kickstarteras Lintex Retro 125
loader
Bezig met laden...