USP Icon
Gemakkelijk retourneren
USP Icon
Klanten beoordelen Zandri met een 9
USP Icon
Meer dan 100.000 parts in het assortiment

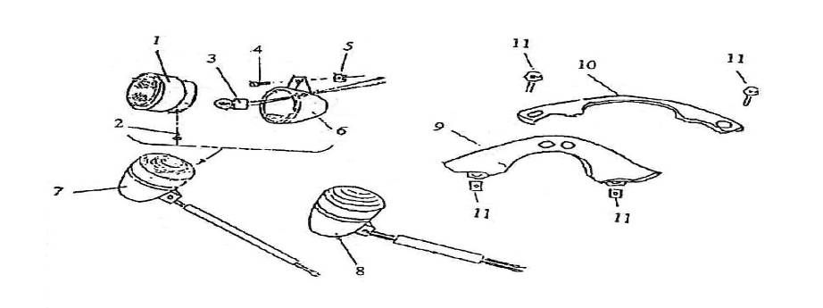
Knipperlichten BTC Grande Retro 125

Knipperlichten BTC Grande Retro 125
loader
Bezig met laden...

Onderdelen BTC Grande Retro 125cc