USP Icon
Gemakkelijk retourneren
USP Icon
Klanten beoordelen Zandri met een 9
USP Icon
Meer dan 100.000 parts in het assortiment

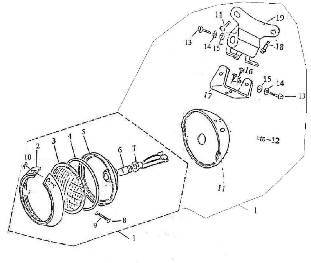
Koplamp Giantco Grand Venus donkerblauw

Koplamp Giantco Grand Venus donkerblauw
loader
Bezig met laden...

Onderdelen Giantco Grand Venus donkerblauw