Technische tekeningen Piaggio Zip RST
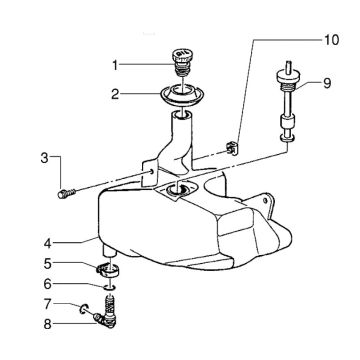
Klik hier op de technische tekeningen / exploded view van de Piaggio Zip RST scooter waar u onderdelen of accessoires voor zoekt. De technische tekeningen van de Piaggio Zip RST geven u een duidelijk overzicht van de verschillende passende onderdelen en accessoires. Door zo uw onderdelen te zoeken, heeft u altijd passende onderdelen voor uw Piaggio Zip RST.


